Separator koalescencyjny zintegrowany z osadnikiem i kanałem odciążającym typ ECO-K 100/1000-10,0...150/1500-6,5; ECO-K 100/500-12,0...150/750-8,0
Aprobata Techniczna Instytutu Ochrony Środowiska w Warszawie nr AT/2012-08-0219-2/A2
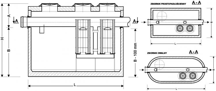
- W przypadku rzeczywistego zagłębienia kanalizacji większego od wartości “A” należy nadbudować separator nadstawkami regulacyjnymi
- Wszystkie urządzenia w wykonaniu najazdowym z włazami Ø600 w klasach obciążenia C250 lub D400.
| ECO-K | 100/1000-10,0 | 100/1000-10,0 Ow | 125-1250-8,0 | 125-1250-8,0 Ow | 150/1500-6,5 | 150/1500-6,5 Ow | |
|---|---|---|---|---|---|---|---|
| Przepust. nominalna | [l/s] | 100 | 100 | 125 | 125 | 150 | 150 |
| Przepust. maksymalna | [l/s] | 1000 | 1000 | 1250 | 1250 | 1500 | 1500 |
| Pojemność osadnika | [l] | 10000 | 10000 | 8000 | 8000 | 6500 | 6500 |
| Długość L | [mm] | 5660 | 5500 | 5660 | 5500 | 5660 | 5500 |
| Szerokość S | [mm] | 2360 | 2500 | 2360 | 2500 | 2360 | 2500 |
| Wysokość H | [mm] | 2920 | 2950 | 2920 | 2950 | 2920 | 2950 |
| Wysokość A | [mm] | 1470 | 1500 | 1670 | 1700 | 1670 | 1700 |
| Dopływ/Odpływ max. | [mm] | 1000 | 1000 | 1200 | 1200 | 1200 | 1200 |
| Zagłębienie dna zbiornika B | [mm] | 1450 | 1450 | 1250 | 1250 | 1250 | 1250 |
| Ilość zatrzymanego oleju | [l] | 1470 | 1870 | 1435 | 1350 | 3090 | 2910 |
| Masa jednostkowa | [kg] | 20000 | 17300 | 20000 | 17300 | 20000 | 17300 |
| Masa całkowita | [kg] | 26750 | 23800 | 26750 | 23800 | 26750 | 23800 |
| ECO-K | 100/500-12,0 | 100/500-12,0 Ow | 125/625-9,0 | 125/625-9,0 Ow | 150-750-8,0 | 150-750-8,0 Ow | |
|---|---|---|---|---|---|---|---|
| Przepust. nominalna | [l/s] | 100 | 100 | 125 | 125 | 150 | 150 |
| Przepust. maksymalna | [l/s] | 500 | 500 | 625 | 625 | 750 | 750 |
| Pojemność osadnika | [l] | 12000 | 12000 | 9000 | 9000 | 8000 | 8000 |
| Długość L | [mm] | 5660 | 5500 | 5660 | 5500 | 5660 | 5500 |
| Szerokość S | [mm] | 2360 | 2500 | 2360 | 2500 | 2360 | 2500 |
| Wysokość H | [mm] | 2920 | 2950 | 2920 | 2950 | 2920 | 2950 |
| Wysokość A | [mm] | 1270 | 1300 | 1470 | 1500 | 1470 | 1500 |
| Dopływ/Odpływ max. | [mm] | 800 | 800 | 1000 | 1000 | 1000 | 1000 |
| Zagłębienie dna zbiornika B | [mm] | 1650 | 1650 | 1450 | 1450 | 1450 | 1450 |
| Ilość zatrzymanego oleju | [l] | 1990 | 1870 | 3540 | 2540 | 3640 | 3430 |
| Masa jednostkowa | [kg] | 20000 | 17300 | 20000 | 17300 | 20000 | 17300 |
| Masa całkowita | [kg] | 26750 | 23800 | 26750 | 23800 | 26750 | 23800 |
Przykładowy sposób oznaczania separatorów ECO-K
ECO-K – typoszereg
100 – przepływ nominalny [l/s]
/1000 – przepływ nominalny [l/s]
10,0 – pojemność osadnika [m3]