Separator koalescencyjny zintegrowany z osadnikiem i kanałem odciążającym typ ECO-K 10/100-3,5...20/200-6,0; ECO-K 10/50-3,5...20/100-6,0
Aprobata Techniczna Instytutu Ochrony Środowiska w Warszawie nr AT/2012-08-0219-2/A2
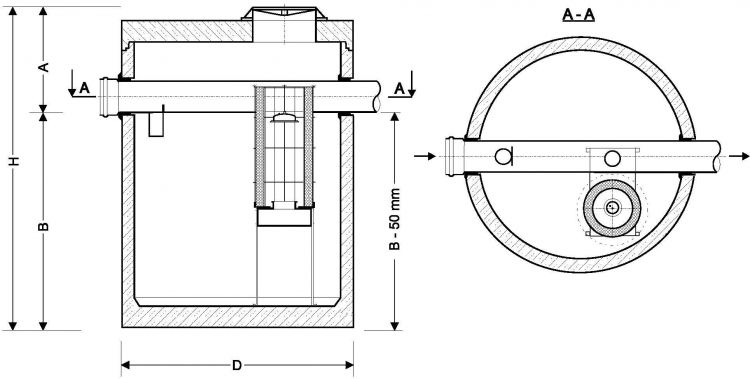
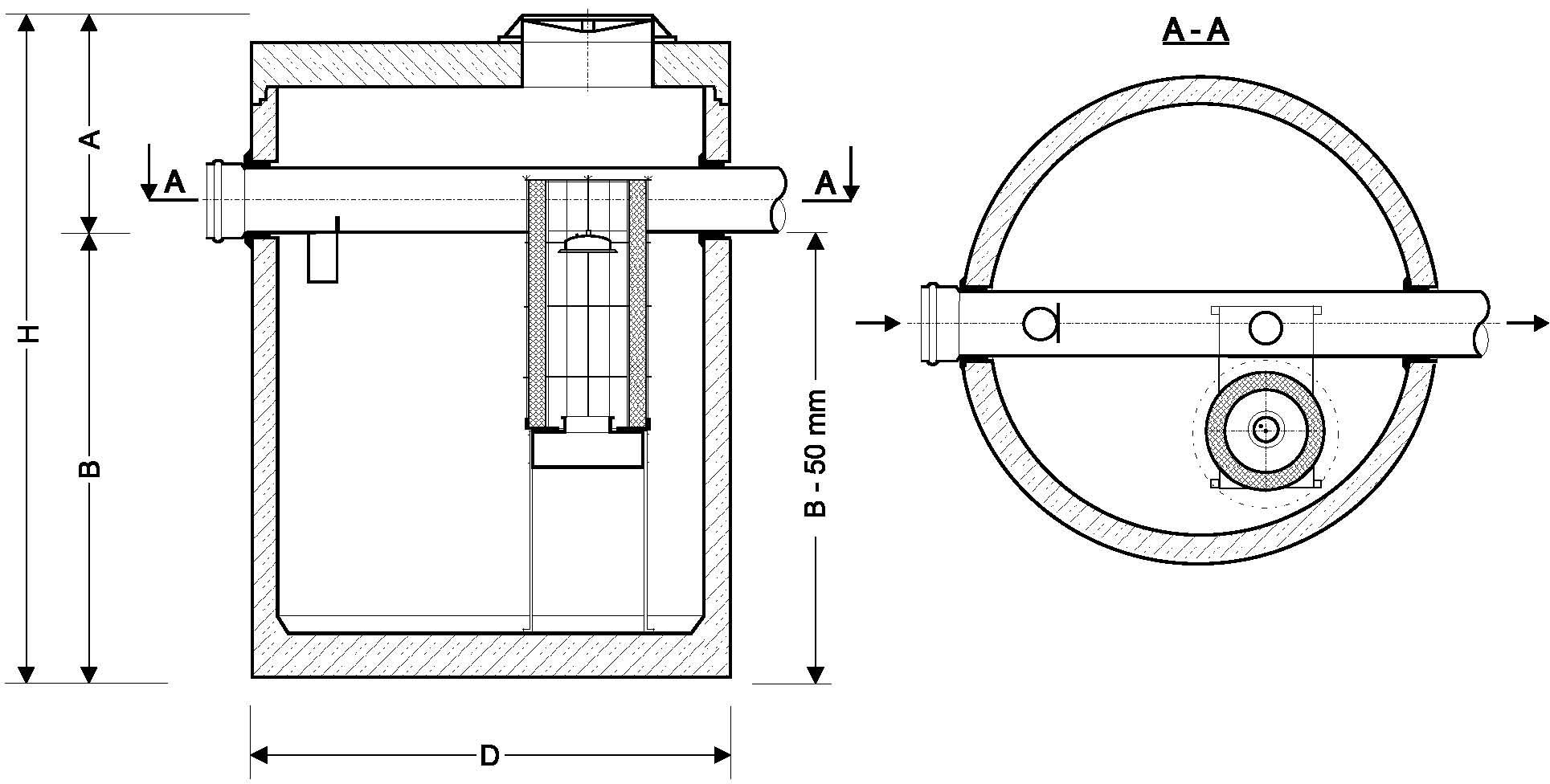
- W przypadku rzeczywistego zagłębienia kanalizacji większego od wartości “A” należy nadbudować separator nadstawkami regulacyjnymi
- Wszystkie urządzenia w wykonaniu najazdowym z włazami Ø600 w klasach obciążenia C250 lub D400.
| ECO-K | 10/100-3,5 | 10/100-5,0 | 15/150-2,0 | 15/150-3,5 | 15/150-5,0 | 20/200-2,5 | 20/200-3,0 | 20/200-4,5 | 20/200-6,0 | |
|---|---|---|---|---|---|---|---|---|---|---|
| Przepust. nominalna | [l/s] | 10 | 10 | 15 | 15 | 15 | 20 | 20 | 20 | 20 |
| Przepust. maksymalna | [l/s] | 100 | 100 | 150 | 150 | 150 | 200 | 200 | 200 | 200 |
| Pojemność osadnika | [l] | 3500 | 5000 | 2000 | 3500 | 5000 | 2500 | 3000 | 4500 | 6000 |
| Średnica D | [mm] | 2300 | 2300 | 1800 | 2300 | 2300 | 1800 | 2300 | 2300 | 2500 |
| Wysokość H | [mm] | 2400 | 2900 | 2400 | 2400 | 2900 | 2900 | 2400 | 2900 | 2900 |
| Wysokość A | [mm] | 950 | 950 | 950 | 950 | 950 | 1050 | 1050 | 1050 | 1050 |
| Dopływ/Odpływ max. | [mm] | 500 | 500 | 500 | 500 | 500 | 600 | 600 | 600 | 600 |
| Zagłębienie dna zbiornika B | [mm] | 1500 | 2000 | 1500 | 1500 | 2000 | 1850 | 1350 | 1850 | 1850 |
| Ilość zatrzymanego oleju | [l] | 455 | 455 | 255 | 455 | 455 | 345 | 610 | 610 | 740 |
| Masa jednostkowa | [kg] | 6600 | 7800 | 4800 | 6600 | 7800 | 5700 | 6600 | 7800 | 9300 |
| Masa całkowita | [kg] | 8600 | 9800 | 5950 | 8580 | 9800 | 6900 | 8580 | 9800 | 11700 |
| ECO-K | 10/50-3,5 | 10/50-5,0 | 15/75-2,0 | 15/75-3,5 | 15/75-5,0 | 20/100-2,5 | 20/100-3,0 | 20/100-4,5 | 20/100-6,0 | |
|---|---|---|---|---|---|---|---|---|---|---|
| Przepust. nominalna | [l/s] | 10 | 10 | 15 | 15 | 15 | 20 | 20 | 20 | 20 |
| Przepust. maksymalna | [l/s] | 50 | 50 | 75 | 75 | 75 | 100 | 100 | 100 | 100 |
| Pojemność osadnika | [l] | 3500 | 5000 | 2000 | 3500 | 5000 | 2500 | 3000 | 4500 | 6000 |
| Średnica D | [mm] | 2300 | 2300 | 1800 | 2300 | 2300 | 1800 | 2300 | 2300 | 2500 |
| Wysokość H | [mm] | 2400 | 2900 | 2400 | 2400 | 2900 | 2900 | 2400 | 2900 | 2900 |
| Wysokość A | [mm] | 850 | 850 | 850 | 850 | 850 | 950 | 950 | 950 | 950 |
| Dopływ/Odpływ max. | [mm] | 400 | 400 | 400 | 400 | 400 | 500 | 500 | 500 | 500 |
| Zagłębienie dna zbiornika B | [mm] | 1550 | 2050 | 1550 | 1550 | 2050 | 1950 | 1450 | 1950 | 1950 |
| Ilość zatrzymanego oleju | [l] | 455 | 455 | 255 | 455 | 455 | 345 | 610 | 610 | 740 |
| Masa jednostkowa | [kg] | 6600 | 7800 | 4800 | 6500 | 7800 | 5700 | 6600 | 7800 | 9300 |
| Masa całkowita | [kg] | 8600 | 9800 | 5950 | 8580 | 9800 | 6900 | 8580 | 9800 | 11700 |
Przykładowy sposób oznaczania separatorów ECO-K
ECO-K – typoszereg
10 – przepływ nominalny [l/s]
/100 – przepływ nominalny [l/s]
3,5 – pojemność osadnika [m3]