Osadnik zawiesiny mineralnej z wewnętrznym kanałem odciążającym typ OZM-K 0.7...12
Aprobata Techniczna Instytutu Ochrony Środowiska w Warszawie nr AT/2012-08-0357
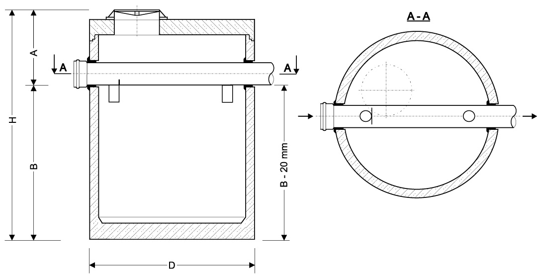
- W przypadku rzeczywistego zagłębienia kanalizacji większego od wartości “A” należy nadbudować separator nadstawkami regulacyjnymi
- Wszystkie urządzenia w wykonaniu najazdowym z włazami Ø600 w klasach obciążenia C250 lub D400.
| OZM-K | 0,7 | 1 | 1,5 | 2 | 3,5 | 4,5 | |
|---|---|---|---|---|---|---|---|
| Przepustowość nominalna | [l/s] | 3 | 6 | 10 | 15 | 20 | 30 |
| Przepustowosc maksymalna | [l/s] | 30 | 60 | 100 | 150 | 200 | 300 |
| Pojemność całkowita | [l] | 700 | 1100 | 1500 | 2100 | 3400 | 4300 |
| Pojemność użyteczna | [l] | 500 | 860 | 1200 | 1800 | 2800 | 3650 |
| Średnica D | [mm] | 1240 | 1240 | 1240 | 1500 | 1800 | 1800 |
| Wysokość H | [mm] | 1300 | 1800 | 2300 | 2400 | 2400 | 2900 |
| Wysokość A | [mm] | 650 | 800 | 900 | 900 | 1050 | 1150 |
| Dopływ/Odpływ max. | [mm] | 250 | 400 | 500 | 500 | 600 | 700 |
| Zagłębienie dna zbiornika B | [mm] | 650 | 1000 | 1400 | 1500 | 1350 | 1750 |
| Masa jednostkowa | [kg] | 1500 | 1800 | 2900 | 3600 | 4800 | 5700 |
| Masa całkowita | [kg] | 1900 | 2200 | 3500 | 4400 | 6000 | 6900 |
| OZM-K | 6 | 7 | 8 | 9 | 12 | |
|---|---|---|---|---|---|---|
| Przepustowość nominalna | [l/s] | 40 | 50 | 65 | 80 | 100 |
| Przepustowosc maksymalna | [l/s] | 400 | 500 | 650 | 800 | 1000 |
| Pojemność całkowita | [l] | 6000 | 7200 | 7600 | 9100 | 11800 |
| Pojemność użyteczna | [l] | 4700 | 5700 | 6150 | 7400 | 9100 |
| Średnica D | [mm] | 2300 | 2500 | 2300 | 2500 | 2800 |
| Wysokość H | [mm] | 2400 | 2400 | 2900 | 2900 | 2900 |
| Wysokość A | [mm] | 1250 | 1250 | 1450 | 1450 | 1450 |
| Dopływ/Odpływ max. | [mm] | 800 | 800 | 1000 | 1000 | 1000 |
| Zagłębienie dna zbiornika B | [mm] | 1150 | 1150 | 1450 | 1450 | 1450 |
| Masa jednostkowa | [kg] | 6600 | 6900 | 7800 | 9300 | 10200 |
| Masa całkowita | [kg] | 8580 | 9100 | 9800 | 11700 | 13100 |
Przykładowy sposób oznaczania osadnika typu OZM-K
OZM-K – typoszereg
0,7 –pojemność nominalna [m3]